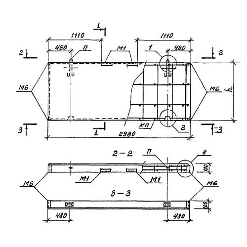
ПС 300.180.10

Чертеж изделия:
Характеристики изделия:
ПараметрЗначение
длина2980 мм
ширина100 мм
высота1785 мм
вес1330 кг
Шифр111-83

ПС 300.180.10 Панели стеновые по Шифру 111-83.