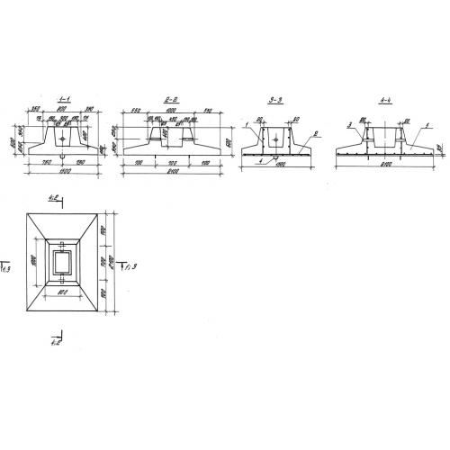
1ФР 2 фундамент

Чертеж изделия:
Характеристики изделия:
ПараметрЗначение
длина1500 мм
ширина2100 мм
высота600 мм
масса2080 кг
нормативный документСерия 3.900.1-10

1ФР 2 Фундаменты стаканного типа по Серии 3.900.1-10.