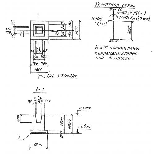
Фм 10

Чертеж изделия:
Характеристики изделия:
ПараметрЗначение
длина1500 мм
ширина1500 мм
высота1800 мм
масса3500 кг
нормативный документСерия 3.016.2-12

Фм 10  Фундаменты монолитные Серия 3.016.2-12.