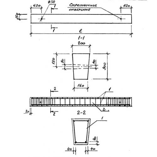
1БФ 3

Чертеж изделия:
Характеристики изделия:
ПараметрЗначение
длина2950 мм
ширина200 мм
высота300 мм
вес400 кг
серия1.815.1-1

1БФ 3 Балки фундаментные по серии 1.815.1-1.