ИБ 5 ригели
Характеристики изделия:
| Параметр | Значение |
|---|---|
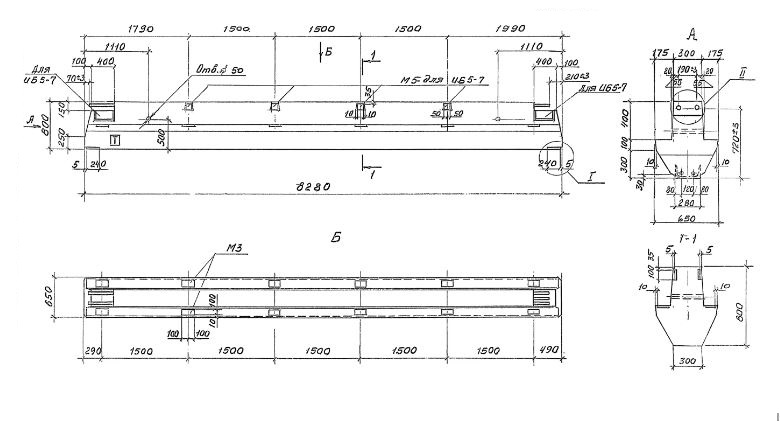
| длина | 8280 мм |
| ширина | 650 мм |
| высота | 800 мм |
| масса | 6730 кг |
| нормативный документ | Серия 1.420-35.95 |
Цена:
Рассчитать стоимостьИБ 5 Ригели с полками для опирания плит Серия 1.420-35.95.
| Параметр | Значение |
|---|---|
| длина | 8280 мм |
| ширина | 650 мм |
| высота | 800 мм |
| масса | 6730 кг |
| нормативный документ | Серия 1.420-35.95 |
ИБ 5 Ригели с полками для опирания плит Серия 1.420-35.95.
