1КВО 60.00-3.20.00

Чертеж изделия:
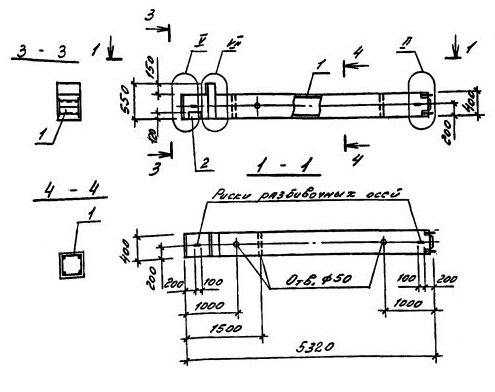
Характеристики изделия:
ПараметрЗначение
длина5320 мм
ширина400 мм
высота550 мм
масса2150 кг
нормативный документСерия 1.020.1-4

1КВО 60.00-3.20.00    Колонны одноконсольные для верхних этажей (Серия 1.020.1-4).