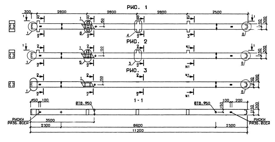
4К 3.28

Чертеж изделия:
Характеристики изделия:
ПараметрЗначение
длина11200 мм
ширина300 мм
высота300 мм
масса2630 кг
нормативный документСерия 1.020.1-3пв

4К 3.28  Колонны Серия 1.020.1-3пв.