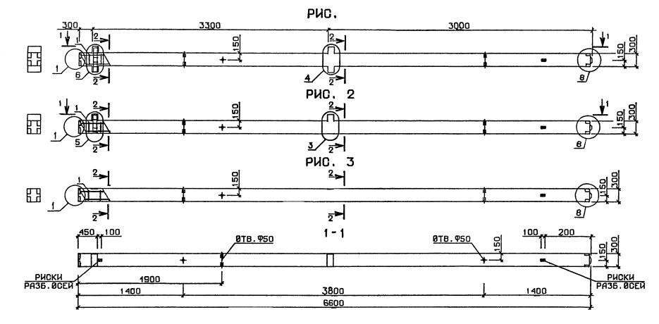
2К 3.33
Характеристики изделия:
| Параметр | Значение |
|---|---|
| длина | 6600 мм |
| ширина | 300 мм |
| высота | 300 мм |
| масса | 1550 кг |
| нормативный документ | Серия 1.020.1-3пв |
Цена:
Рассчитать стоимость2К 3.33 Колонны Серия 1.020.1-3пв.
| Параметр | Значение |
|---|---|
| длина | 6600 мм |
| ширина | 300 мм |
| высота | 300 мм |
| масса | 1550 кг |
| нормативный документ | Серия 1.020.1-3пв |
2К 3.33 Колонны Серия 1.020.1-3пв.