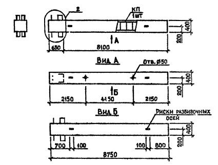
КБ 80

Чертеж изделия:
Характеристики изделия:
ПараметрЗначение
длина8750 мм
ширина400 мм
высота400 мм
масса3500 кг
нормативный документСерия 1.020.1-2с/89

КБ 80  Колонны бесстыковые Серия 1.020.1-2с/89.