ВБ 10.12.24

Чертеж изделия:
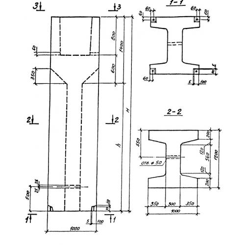
Характеристики изделия:
ПараметрЗначение
длина1000 мм
ширина1200 мм
высота2390 мм
вес5360 кг
серия0-221-84

ВБ 10.12.24 Блоки-стаканы верхние по серии 0-221-84.