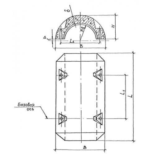
2УТК 325 утяжелители кольцевые

Чертеж изделия:
Характеристики изделия:
ПараметрЗначение
длина1200 мм
ширина670 мм
высота320 мм
масса276 кг
нормативный документПроект №998

2УТК 325  Утяжелители железобетонные кольцевые сборные для магистральных трубопроводов Проект №998.